
Patents & Other documents
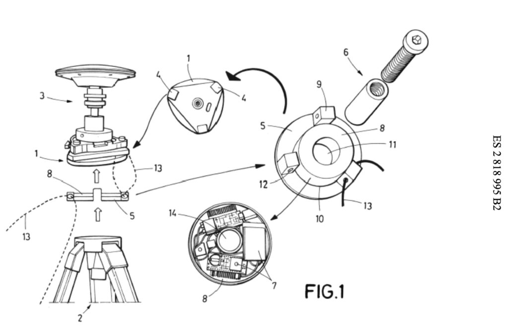
2021 Dispositivo de seguridad de instrumental topográfico (Patente ES2818995B2)

Sánchez Ríos, A. & Martín Tardío, M. Á., (2021). Dispositivo de seguridad de instrumental topográfico (Patente ES2818995B2). Oficina Española de Patentes y Marcas.
Este trabajo presenta un dispositivo de seguridad diseñado para instrumental topográfico, cuyo objetivo es prevenir robos y facilitar la localización del equipo en caso de sustracción. La patente describe un sistema compuesto por un soporte acoplable a la base nivelante del instrumental y un equipo electrónico integrado en una carcasa que alberga un receptor GPS, acelerómetro, microcontrolador con módem GPRS, batería y la circuitería asociada. El dispositivo emite un aviso sonoro disuasorio ante movimientos no autorizados y, si la alteración continúa, envía un mensaje SMS con un enlace para el seguimiento en línea del equipo. Su diseño es sencillo, económico y adaptable a cualquier instrumento topográfico, aportando así ventajas como la reducción del riesgo de robo y la disminución de costes asociados a la pérdida de equipamiento.
2018 Aparato y sistema para la medida de parámetros geométricos de una vía (Patente ES2613777B1)

Sánchez Ríos, A., Chávez de la O, F., González González, A., & Rodríguez Salgado, D. (2018). Aparato y sistema para la medida de parámetros geométricos de una vía (Patente ES2613777B1). Oficina Española de Patentes y Marcas.
La patente describe un aparato y sistema destinados a la medida de parámetros geométricos de una vía, concebido para su aplicación en tareas de auscultación, control constructivo y mantenimiento de infraestructuras ferroviarias. El dispositivo incorpora medios de guiado y alineamiento que se acoplan a ambos lados de un único raíl para sostener el aparato sobre la parte superior de la vía, un sistema rodante motorizado que permite su desplazamiento, un sensor de nivel encargado de registrar parámetros de inclinación y un prisma topográfico empleado como referencia para una estación total. Esta combinación posibilita obtener mediciones precisas y continuas del trazado ferroviario, mejorando la detección de deformaciones y el seguimiento del estado geométrico de la vía.
2017 Aparato para la medida de parámetros geométricos de una vía basado en observaciones GNSS (Patente ES2613767B1)

Sánchez Ríos, A., Chávez de la O, F., González González, A., & Rodríguez Salgado, D. (2017). Aparato para la medida de parámetros geométricos de una vía basado en observaciones GNSS (Patente ES2613767B1). Oficina Española de Patentes y Marcas.
La patente describe un aparato diseñado para la medida precisa de parámetros geométricos de una vía mediante observaciones GNSS. El dispositivo integra medios de guiado y alineamiento acoplables a ambos lados de un raíl, un sistema rodante motorizado que permite el desplazamiento sobre la vía, un sensor de nivel para la medición de inclinación y un sensor GNSS para obtener coordenadas en puntos seleccionados. Este conjunto posibilita la adquisición de parámetros geométricos con gran precisión y resulta especialmente útil para aplicaciones ferroviarias y de control de infraestructuras lineales.
2013 Elaboración de cartografía para publicaciones científicas y documentos de divulgación

Felicisimo, A. M. Elaboración de cartografía para publicaciones científicas y documentos de divulgación. Universidad de Extremadura, 52 pp, 2013.
Texto completo.
Curso para profesores realizado en la Universidad de Extremadura con el objetivo de aprender a preparar documentos cartográficos con un Sistema de Información Geográfica.